2026-04-01
2026-03-12
2026-03-09
2026-02-11
2026-01-31
2025-11-29
地址:昆山市张浦镇俱进路550号4号厂房3楼
电话:0512-57225603
手机:13812682041赵小姐
邮箱:jessie@ptchip.com.cn
作者:芯录微半导体发布日期:2022-06-08浏览人数:5408
芯片烧录行业领导者-昂科技术近日发布最新的烧录软件更新及新增支持的芯片型号列表,其中东软载波EastSoft的HW3181系列款高集成度的低功耗Sub-1GHz无线SoC芯片HW3181FHNQ的烧录已经被昂科的通用烧录器平台AP8000所支持。
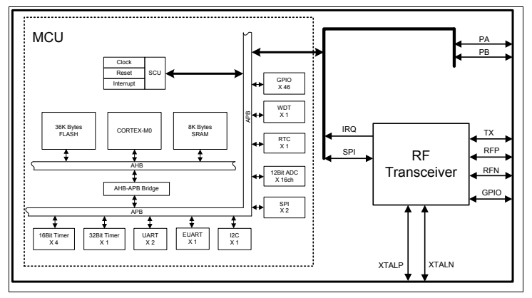
HW3181是一款高集成度的低功耗Sub-1GHz无线SoC芯片,可广泛应用于无线抄表、无线门禁、智能家居、工业控制、无线传感器网络、无线遥控、遥测设备等领域。片上集成高性能、低功耗的RF收发器和32位MCU。
片上RF收发器的外围电路较简单,只需少量的外围被动器件即可构成完整的 Sub-1GHz无线收发系统。RF收发器发射功率最大可以到20dBm,接收灵敏度可达到-114dBm@10Kbps(433MHz)。
片上MCU内部集成32位ARM Cortex-M0 CPU内核,具备36KB的Flash程序存储空间。
芯片特性:
• 工作条件
– 工作电压范围:2.2V~3.6V
– 工作温度范围:-40℃~85℃
• 封装形式
– QFN48
MCU特性:
• 工作特性
– 工作主时钟频率:32KHz~48MHz
– 工作电流:Ivdd = 3.5mA(@内部HRC 16MHz,典型值)
– 待机电流:Ivdd = 5μA(常温,典型值)
• 电源
– 低功耗LVD用于监测系统电源掉电和上电,可选择产生掉电或上电中断
• 复位
– 内嵌上电复位电路POR
– 内嵌掉电复位电路BOR
– 支持外部复位
• 时钟
– 外部晶体振荡器可配置,支持低速振荡器32KHz和高速振荡器1~20MHz,可配置为系统时钟源
– 内部16MHz RC振荡器(HRC)可配置为系统时钟源,出厂前已校准(全温度,全电压范围内频率精度为±2%)
– 内部32KHz RC振荡器(LRC)作为WDT时钟源,可配置为系统时钟源
– 支持PLL倍频,时钟源可选择,最大可倍频至48MHz,可配置为系统时钟源
• 内核
– ARM Cortex-M0 32位嵌入式处理器内核
– 支持SWD串行调试接口,支持2个监视点(watchpoint)和4个断点(breakpoint)
– 支持两组SWD调试接口可选择,通过配置字DEBUG_S进行选择
– 内嵌向量中断控制器NVIC
– 支持唤醒中断控制器WIC
– NVIC包含一个不可屏蔽中断NMI
– 内置1个SysTick系统定时器
• 硬件看门狗
– 时钟源可选择
– 支持低功耗模式下唤醒
– 超时计数溢出可选择触发中断或复位
• 存储资源
– 36K字节FLASH存储器
- 支持ISP在线串行编程
- 支持两组ISP编程接口可选择,硬件自动识别有效的ISP编程接口
- 支持IAP在应用中编程,可选取部分区域作为数据存储使用
- 支持FLASH编程代码加密保护
– 8K字节SRAM存储器
- SRAM存储空间及外设寄存器地址空间支持位带(BIT BAND)扩展
• I/O端口
– 支持最多46个双向I/O端口,其中可用端口37个,外部可用端口32个
- 外部PA端口18个(PA0~PA8、PA21、PA24~PA31)
- 外部PB端口14个(PB0~PB13)
- 内连端口5个(PA9~PA13)
- 内部悬空未用端口9个(PA14~PA20、PA22~PA23)
• 定时器/计数器
– T16N0:16位定时器/计数器,带预分频器,扩展输入捕捉/输出调制功能
– T16N1:16位定时器/计数器,带预分频器,扩展输入捕捉/输出调制功能
– T16N2:16位定时器/计数器,带预分频器,扩展输入捕捉/输出调制功能
– T16N3:16位定时器/计数器,带预分频器,扩展输入捕捉/输出调制功能
– T32N0:32位定时器/计数器,带预分频器,扩展输入捕捉/输出调制功能
– RTC :一路RTC实时时钟
• UART通信接口
– 支持两路UART通信接口UART0,UART1
– 支持全/半双工异步通信模式
– 支持传输波特率可配置
– 支持8级发送/接收缓冲器
– 支持7/8/9位数据格式可配
– 支持奇偶校验功能可配,支持硬件自动奇偶校验位判断
– 支持空闲帧检测
– 支持接收帧错误标志、溢出标志、奇偶校验错误标志
– 支持数据接收和发送中断
– 支持PWM调制输出,且PWM占空比线性可调
– 支持接收端口红外唤醒功能
– 支持UART输入输出通讯端口极性可配置
• EUART通信接口
– 支持一路EUART通信接口EUART0
– 兼容UART通信接口,可配置为普通UART模式
– 扩展支持异步半双工接收/发送(7816模式)
– 扩展支持8位数据位和1位奇偶校验位(7816模式)
– 扩展支持自动重发重收模式(7816模式)
– 扩展支持可配置内部时钟输出(7816模式)
– 扩展支持双通道通讯可配置(7816模式)
• I2C通信接口
– 支持一路通信接口I2C0
– 支持主控和从动模式
– 支持标准I2C总线协议,最高传输速率400K bit/s
– 支持7位寻址方式
– 约定数据从最高位开始接收/发送
– 支持数据接收和发送中断
– SCL/SDA端口支持推挽/开漏模式,开漏时必须使能内部弱上拉或使用外部上拉电阻
– SCL端口支持时钟线自动下拉等待请求功能
• SPI通信接口
– 支持二路通信接口SPI0,SPI1(外部可用一路SPI1)
– 支持主控模式和从动模式
– 支持4种通信数据格式
– 支持4级接收/发送缓冲器
– 支持数据接收和发送中断
• ADC模拟数字转换器
– 支持12位转换结果,有效精度为11 位
– 支持16通道模拟输入端(AIN14、AIN 15不可用,可用14通道)
– 支持参考电压源可选择
– 支持中断产生
– 支持转换结果自动比较
– 支持定时触发ADC转换
RF收发器特性:
• 频带
– 315/433/779/868/915MHz
• 接收灵敏度
– -114 dBm @10kbps(315/433MHz)
– -112dBm @10kbps(779/868/915MHz)
• 调制方式
– (G)FSK
• 最大输出功率
– +20 dBm
• 低电流消耗
– 8 mA RX(低功耗接收模式)
– 18 mA RX(非低功耗接收模式)
• 各模式下功耗
– 100 nA POWER DOWN
– 3μA DEEP SLEEP
– 3.5μA SLEEP(RC)
– 2 mA IDLE
• 数据速率:1.2 Kbps to 100 Kbps
• 支持自动跳频功能
• 8个可配通道
• 选择性性能
– 邻道抑制:41 dB @ 200KHz
– 阻断性能:55 dB @ 1MHz
• 独立256字节发送与接收FIFO
• 支持自动应答功能(ACK)
• 支持自动重传功能(ART)
• 支持自动频率控制(AFC)
• 支持自动增益控制(AGC)
• 支持白化、FEC、CRC校验
• 支持曼切斯特编码、8bit/10bit线性编码
• 支持数字RSSI测量
• 支持20/26MHz(±20ppm)晶振
• 支持IEEE 802.15.4g帧结构
应用领域
• 中远距离无线数据传输相关领域
– 包括智能家居、工业控制、无线遥控、灯光控制、无线抄表、无线门禁、无线安防、传感器网络等
应用优势
• 工业级Sub-1GHz无线SOC芯片
• 满足低成本、低功耗、中远距离应用的典型需求
• 覆盖433/780/868/915MHz等Sub-1GHz免费频段
• 市场领先的链路预算指标

整体框图
昂科技术自主研发的AP8000万用型烧录器包含主机,底板,适配座三大部分。

主机支持USB和NET连接,允许将多台编程器进行组网,达到同时控制多台自动编程器同时烧录的目的。内置芯片安全保障电路保证即使芯片放反或其他原因造成的短路可以被立即检测到并进行断电处理,以保障芯片和编程器安全。内嵌高速FPGA,极大地加速数据传输和处理。主机背部有SD卡槽,将PC软件制作得到的工程文件放到SD卡的根目录下并插入到该卡槽内,通过编程器上的按键可进行工程文件的选择,加载,执行烧录等命令,以达到脱离PC便可操作的目的,极大的降低了PC硬件配置成本,方便迅速地搭配工作环境。
AP8000通过底板加适配板的方式,让主机扩展性更强,目前已经支持了所有主流半导体厂家生产的器件,包括TI, ST, MicroChip, Atmel, Hynix , Macronix, Micron, Samsung ,Toshiba等。支持的器件类型有NAND,NOR,MCU,CPLD,FPGA,EMMC等,支持包括Intel Hex,Motorola S, Binary, POF等文件格式。
关于东软载波:东软载波(EastSoft),青岛东软载波科技股份有限公司成立于1993年6月,现已形成以智能制造为基础,芯片设计为源头,能源互联网与智能化应用两翼齐飞的产业布局。自1996年起开始电力线载波通信技术研究,打破海外技术垄断,引领行业技术发展,先后推出第1代至第6代通信芯片。东软载波公司以低压电力线载波通信产品的研发、生产、销售和服务为主营业务,专注于为国家智能电网建设提供用电信息采集系统整体解决方案,并致力于低压电力线载波通信技术应用领域的拓展,是电力线载波通信及软件研发领域中的领导企业。
关于昂科技术:昂科技术(ACROVIEW)是全球领先的半导体芯片烧录解决方案提供商,公司坚持以科技改变世界、用智能驱动未来,持续不断的为客户创造价值。昂科的AP8000通用烧录器平台及最新的IPS5000烧录自动化解决方案,为半导体和电子制造领域客户提供一站式解决方案,公司已服务包括、比亚迪、富士康等全球领先客户。